

自整角机包括:
A、使用于信号传输系统作检测元件用的控制式自整角机;
控制式自整角机包括控制式发送机ZKF和控制式变压器ZKB。
B、使用于力矩传输系统作指示用的力矩式自整角机。
力矩式自整角机包括力矩式发送机ZLF和力矩式接收ZLJ。
控制式自整角机是作为角度和位置的检测元件,可以将转角转换成电信号或将角度的数字量转变为电压模拟量,而且精密程度较高,误差范围仅有3′~14′。因此,控制式自整角机用于精密的闭环控制的伺服系统中是很适宜的。
力矩式自整角机用做远距离转角指示,即将机械角度变换为力矩输出,但无力矩放大作用,接收误差稍大,负载能力较差,其静态误差范围为0.5°~2°。因此,力矩式自整角机只适用于轻负载转矩及精度要求不太高的开环控制的伺服系统里。
自整角机是一种将转角变换成电压信号或将电压信号变换成转角,以实现角度传输、变换和指示的元件。它可以用于测量或控制远距离设备的角度位置,也可以在随动系统中用作机械设备之间的角度联动装置,以使机械上互不相联的两根或两根以上转轴保持同步偏转或旋转。通常是两台或多台组合使用,产生信号一方的自整角机称为发送机,接收信号一方的自整角机称为接收机。
自整角机是一种微型电机,所以自整角机和一般旋转电机的结构相似,主要由定子和转子两大部分组成。下面根据自整角机的使用用途,分别介绍控制式自整角机和力矩式自整角机的工作原理。
控制式自整角机的工作原理可以由图1来说明。图1中,由结构、参数均相同的两台自整角机构成自整角机组。一台用来发送转角信号,称为自整角发送机,用ZKF表示,它的励磁绕组接到单相交流电源上。另一台用来接收转角信号并将转角信号转换成转子绕组中的感应电动势输出,称之为自整角接收机,用ZKJ表示。两台自整角机定子中的整步绕组(定子绕组)均接成星形,三对相序相同的相绕组分别接成回路。

图1控制式自整角机工作原理图
在自整角发送机的励磁绕组中通入单相交流电流时,两台自整角机的气隙中都将产生脉振磁场。脉振磁场使自整角发送机整步绕组的各相绕组生成时间上同相位的感应电动势,电动势的大小取决于整步绕组中各相绕组的轴线与励磁绕组轴线之间的相对位置。当整步绕组中的某一相绕组轴线与励磁绕组轴线重合时,该相绕组中的感应电动势为最大值,用E表示电动势的最大值。
设发送机整步绕组中的A相绕组轴线与其对应的励磁绕组轴线的夹角为θ1,接收机整步绕组中的A相绕组轴线与其对应的励磁绕组(转子绕组)轴线的夹角为θ2,如图1所示。发送机整步绕组中各相绕组的感应电动势有效值为:
Ea=E*cosθ1
Eb=E*cos(θ1+120°)
Ec=E*cos(θ1-120°)
由于各相整步绕组对应接成回路,所以感应电动势在各相绕组中产生感应电流,设Z为ZKF相绕组的阻抗ZF、ZKJ相绕组的阻抗ZJ和连接线的阻抗ZL之和,Z=ZF+ZJ+ZL,I=E/Z(I为励磁磁通轴线和定子绕组轴线重合时定子某相电流的有效值,每相最大电流有效值),则ZKF与ZKJ的各相绕组回路中产生各相电流为:
Ia=I*cosθ1
Ib=I*cos(θ1+120°)
Ic=I*cos(θ1-120°)
三相对称整步绕组流过电流时,感应电流产生感应磁场。分析整步绕组电流产生的感应磁场,其合成磁场方向在励磁绕组的轴线上,且根据楞次定律,合成磁场必定对励磁磁场起去磁作用,所以合成磁通密度相量B在励磁绕组轴线上,方向与励磁绕组产生的磁通密度相量Bj相反。
发送机和接收机的三相定子绕组是对应连接的,所以各对应相的电流大小相等、方向相反,所以接收机合成磁场轴线也与D’1相相夹θ1,但方向与发送机中的合成磁场相反,该磁场以B’表示。

图2自整角机定、转子磁场关系
当接收机转子绕组轴线与定子绕组轴线差θ2时,合成磁场的轴线与接收机转子绕组轴线夹角为θ2-θ1=d,则合成磁场在接收机转子绕组中产生的感应电势的有效值为:
E0=E0max*cosd
E0max是定子合成磁场轴线与转子绕组轴线重合时的感应电势,此时达到最大。

图3定子合成轴线与输出绕组轴线夹角
通常把d=90°(与定子B垂直)的位置作为协调位置,偏离此位置的角度叫失调角g,g=90°-g。
E0=E0max*cosg=E0max*sing
由于接收机转子不转动,即θ2保持恒定。所以接收机输出电动势的大小反映了发送机转子的偏转角度,输出电动势的极性反映了发送机转子的偏转方向,从而实现了将转角转换成电信号。
带电的闭合导体在交变磁场中会产生感生电动势并产生电流,载流导体在磁场中将受到安培力的作用。因此在控制式自整角接收机的转子绕组也施加交流激磁电压时,接收机的转子就可以带动一定的负载转动。力矩式自整角机就是利用这个原理进行工作的(图4为力矩式自整角机的工作原理图)。

图4力矩式自整角机原理图
应用叠加原理分别考虑ZLF励磁磁通和ZLJ励磁磁通的作用,所以ZLF和ZLJ同时励磁定子绕组所产生的合成磁场应该是B和B‘的叠加。
为分析方便将ZLJ中的B分解成两个分量,直轴分量B*(1-cosd)与转子电流if相互作用产生电磁力,但不产生转矩。交轴分量B*cosd与if相互作用产生转矩。

图6转子电流与定子磁场相互作用产生转矩
在该转矩作用下使失调角d减小,当其为零后B*sind=0,转矩为零,使ZLJ转子轴线停止在与ZLF转子轴线一致的位置上;当d=90°时,产生最大整步转矩,最大整步转矩用Tm表示,那么接收机的整步转矩可以表示为
T=Tm*sind
(1)电气误差Δre
自整角发送机定子绕组中的感应电势理论值满足:
E1 = E cosq1 E2 = Ecos (q1 +120°) E3 = E cos (q1 -120°)
但由于设计、工艺、材料等因素的影响,各组线电势的实际值不等于理论值。转动转子使其偏离给定的电气角,直到实际的线电势和理论值相等。将电气角和实测角相比,超前为正误差,滞后为负误差。每隔15°测一次。正、负最大误差绝对值之和的一半定义为发送机的电气误差,Δdm为最大误差。
Δre=(|+Δdm|+|-Δdm|)/2
(2)零点位电压U0
接收机转子与发送机转子处于协调位置时输出绕组出现的端电压叫零位电压或残余电压。一般有50~180 mV的残余电压。
(3)比电压Uθ
ZKJ在协调位置附近单位失调角(取 g=1°)时的输出电压称为比电压Uθ,比电压大同样大小的失调角所获得的信号电压也大,因此系统的灵敏度高 。
(4)输出相位移Φ
输出相位移是指ZKJ输出电压的基波分量对ZKF励磁电压基波分量的时间相位差。目前,国产ZKJ的输出相位移为2°~20°。
(5)速度误差Δrv
当转子转速较高时,由于发送机定子绕组切割转子磁场产生切割电势,并在两定子绕组中产生附加电流和磁场,因而在ZKJ输出绕组中感应电势,称为速度电势。由于速度电势的存在,使得ZKJ转子最后所处的位置不是g=0的地方,而是偏离协调位置Δrv。这样,就造成了速度误差Δrv。转速越高,速度电势越大,速度误差也越大。
(1)阻尼时间td
指强迫接收机转子失调(177±2)°,放松后,经过衰减振荡达到协调位置时所需要的时间。按规定阻尼时间不应大于3s。阻尼时间越短,表示接收机的跟随性能越好。为此,在力矩式接收机中通常都装有阻尼绕组,也有的装有机械阻尼器。
(2)零位误差Δθ0
当ZLF的转子励磁后,在理论上,从线电动势为零的某一位置(基准零位)开始,转子每转过60°,整步绕组中必有一线电动势(Eab或Ebc或Eca)为零,此位置称为理论电气零位。 但是由于设计、工艺、材料等因素的影响,实际电气零位与理论电气零位存在着差异,两者之差称为力矩式自整角机的零位误差。
(3)比整步转矩Tθ
指力矩式自整角发送机和接收机在协调位置附近失调角为1°时所产生的整步转矩。即
Tθ=Tm*sin1°
比整步转矩越大,其整步能力越强,静态误差越小,所以比整步转矩是ZLJ的一项重要性能指标。一般产品数据中均列出它的数值。
(4)静态误差 Δθs
发送机处于停转或转速很低时的工作状态称为静态。在理想情况下,接收机应与发送机转过相同的角度。但由于接收机轴上存在摩擦转矩和阻尼转矩,所以使两机的转角出现差值。把静态空载运行而达到协调位置时,发送机转子转过的角度与接收机转子转过的角度之差称为静态误差。
静态误差通常用度或角分表示,它决定接收机的精度。根据静态误差的大小可分为三个精度等级:0级为0.5°,1级为1.2°,2级为2°。
图7是雷达俯仰角自动显示系统示意图。图中自整角发送机2转轴直接与雷达天线的俯仰角α耦合,因此雷达天线的俯仰角α就是自整角发送机的转角。控制式自整角接收机1转轴与由交流伺服电动机3驱动的系统负载(刻度盘5或火炮等负载)的轴相连,其转角用β表示。接收机转子绕组输出电动势E2(有效值)与两轴的差角γ即α-β近似成正比,即
E2=K(α-β)=K*γ…………时钟K为常数
E2经放大器放大后送至交流伺服电动机的控制绕组,使交流伺服电动机转动。可见,只要α≠β,即γ≠0,就有E2≠0,伺服电动机便要转动,使γ减小,直至γ=0。如果α不断变化,系统就会使β跟着aα变化,以保持γ=0,这样就达到了转角自动跟踪的目的。只要系统的功率足够大,接收机上便可带动火炮一类阻力矩很大的负载。发送机和接收机之间只需三根连线,便实现了远距离显示和操纵。

图7雷达俯仰角自动显示系统原理图
1—自整角接收机;2—自整角发送机;3—交流伺服电动机;4—放大器;5—刻度盘;6—减速器

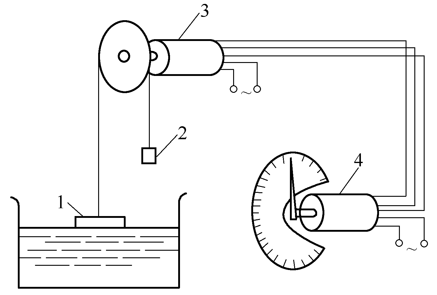
图8液面位置指示器
1—浮子;2—平衡锤;3—发送机;4—接收机
图9为自整角机电气参数测试原理图。自整角机的测试包括励磁绕组及整步绕组的电压、电流、频率、功率、谐波及相关相位角等参数。同时,通过相关上位机软件运算,还可计算出电气误差、零位电压、比电压、输出相位移、速度误差、零位误差、静态误差等参数。

图9自整角机电气参数测试原理图