

电动汽车电池作为电动汽车的动力来源,电池性能一直是限制电动汽车大规模应用的重要因素之一,因此选择一种能够快速充电且不对电池寿命造成损害的方法对电动汽车的推广具有重要作用。
恒流充电法是在充电过程中保持充电电流大小不变,充电曲线如图1所示。为了保证充电电流的不变,需随时调整充电器的输出电压或与蓄电池串联的电阻大小。此法结构简单,便于操作,易于控制,但在整个充电过程中,如果选择的充电电流较大,则容易出现过充现象,对电池的极板冲击非常大,会导致电池的损坏,缩短电池的寿命;如果选择的充电电流较小,则会延长电池的充电时间。

图1 恒流充电法充电曲线
恒流充电法充电效率较低,一般不会超过65%,因此除了根据需要对蓄电池进行小电流激活充电外,已很少使用此方法。
恒压充电法采用恒定不变的电压值给蓄电池充电,其充电曲线如图2所示。在充电初期,电池的电压较低,充电电流较大,容易对电池的极板造成冲击,使极板弯曲变形、活性物质大量脱落及蓄电池温度迅速升高而影响电池寿命。随着充电的持续进行,在充电中后期,电池的电压升高,充电电流会逐渐减小,会导致充电时间增加。

图2 恒压充电法充电曲线
恒压充电法在充电过程中无需调整电流大小,电池析气少,充电效率可高达80%。缺点是如果选择的充电电压过高,则会使充电初期的充电电流过大,容易损坏电池;如果选择的充电电压过低,则会使蓄电池充电不足,降低蓄电池的容量,减少使用寿命。
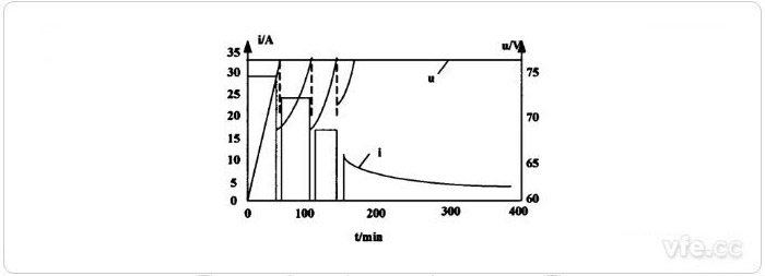
阶段式充电法一般分为二阶段充电法和三阶段充电法。二阶段充电法在充电初期先采用恒流充电,当电池电压达到预定值时,再改为恒压充电,直至电池充满,其充电曲线如图3所示。三阶段充电法则是在充电初期和充电后期采用恒流充电,中间采用恒压充电。

图3 二阶段充电法充电曲线
采用阶段式充电法,结构简单便于操作,基本能满足电池的充电要求,且在充电时间和充电效率上都有所提高,但是它不能避免恒流充电法和恒压充电法各自的缺陷,不能达到真正高速、高效率的快充要求。
脉冲充电法采用脉冲形式的电流对电池进行充电,通过调整脉冲幅值和脉冲占空比来控制电池的充入电量和间歇时间,其充电曲线如图4所示。首先以一个高幅值大电流恒流充电一段时间,使蓄电池的容量在短时间内迅速上升,然后短暂的停止充电,其目的是消除电池的极化现象,再接着不断重复前面的操作,直至电池充满电。

图4 脉冲充电法充电曲线
采用脉冲充电法能够有效的去除极化,减轻蓄电池的内压,减少蓄电池的析气量,提高蓄电池的充电速率。但它的能量转换效率低,出气率高容易使活性物质脱落,从而影响电池的使用寿命。
反射式充电法是在脉冲充电的基础上加以改进而来的,其充电曲线如图5所示。首先以一个高幅值大电流恒流充电一段时间,使蓄电池的容量在短时间内迅速上升,接着转入负脉冲,使蓄电池瞬间放电,然后短暂的停止充电,这样循环往复操作。

图5 反射式充电法充电曲线
采用反射充电法,能够进一步去除极化,减轻蓄电池的内压,减少蓄电池的析气量,提高蓄电池的充电速率。
间歇变电流-恒压充电法充电曲线如图6所示,在充电初期,将恒流充电改为变电流间歇充电,每当电池电压达到充电电压上限时就停止充电,这样能提高电池的充电量;在充电后期,充电电流已经很小,此时改用恒压充电,直至电池完全充满。

图6 间歇变电流-恒压充电法充电曲线
间歇变电压-恒压充电充电在充电初期将间歇变电流改为间歇变电压,其充电曲线如图7所示。在每个恒压充电阶段,充电电流会自然按照指数规律下降,这更加符合电池的最佳充电接受曲线。

图7 间歇变电压-恒压充电法
下一篇:无功补偿技术简介