接触器
- 浏览次数:24050次
- 发布时间:2015/1/9 8:47:26
- 作者:银河电气
根据控制线圈的电压不同,可分为:
1、直流线圈接触器
2、交流线圈接触器。
按操作机构分为:
1、电磁式接触器
2、液压式接触器
3、气动式接触器
按动作方式分为:
1、直动式接触器
2、转动式接触器
根据接触器触点特性分为:
1、空气接触器
2、真空接触器
3、无弧接触器

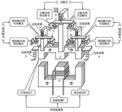
图示:接触器基本结构原理图
交流接触器由以下四部分组成:
(1)电磁机构:电磁机构由线圈、动铁心(衔铁)和静铁心组成,其作用是将电磁能转换成机械能,产生电磁吸力带动触点动作。
(2)触点系统:包括主触点和辅助触点。主触点用于通断主电路,通常为三对常开触点。辅助触点用于控制电路,起电气联锁作用,故又称联锁触点,一般常开、常闭各两对。
(3)灭弧装置:容量在10A以上的接触器都有灭弧装置,对于小容量的接触器,常采用双断口触点灭弧、电动力灭弧、相间弧板隔弧及陶土灭弧罩灭弧。对于大容量的接触器,采用纵缝灭弧罩及栅片灭弧。
(4)其他部件:包括反作用弹簧、缓冲弹簧、触点压力弹簧、传动机构及外壳等。
接触器的工作原理是:当接触器线圈通电后,线圈电流会产生磁场,接触器产生的磁场使静铁心产生电磁吸力吸引动铁心,并带动交流接触器点动作,常闭触点断开,常开触点闭合,两者是联动的。当线圈断电时,电磁吸力消失,衔铁在释放弹簧的作用下释放,使触点复原,常开触点断开,常闭触点闭合。直流接触器的工作原理跟温度开关的原理有点相似。
接触器的图形符号如下图所示,文字符号为KM。

图示:接触器图形符号
a)线圈 b)触点 c)辅助触点

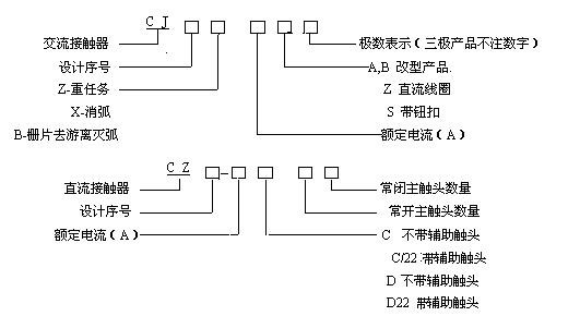
图示:常见接触器命名表示
例如:
CJ10Z-40/3为交流接触器,设计序号10,重任务型,额定电流40A,主触点为3极。
CJ12T-250/3为改型后的交流接触器,设计序号12,额定电流250A,3个主触点。
我国生产的交流接触器常用的有CJ10,CJ12,CJX1,CJ20等系列及其派生系列产品,CJ0系列及其改型产品已逐步被CJ20、CJX系列产品取代。上述系列产品一般具有三对常开主触点,常开、常闭辅助触点各两对。直流接触器常用的有CZ0系列,分单极和双极两大类,常开、常闭辅助触点各不超过两对。
(1)额定电压:指主触点额定工作电压,应等于负载的额定电压。一只接触器常规定几个额定电压,同时列出相应的额定电流或控制功率。通常,最大工作电压即为额定电压。常用的额定电压值为220V、380V、660V等。
(2)额定电流:接触器触点在额定工作条件下的电流值。380V三相电动机控制电路中,额定工作电流可近似等于控制功率的两倍。常用额定电流等级为5A、10A、20A、40A、60A、100A、150A、250A、400A、600A。
(3)通断能力:可分为最大接通电流和最大分断电流。最大接通电流是指触点闭合时不会造成触点熔焊时的最大电流值;最大分断电流是指触点断开时能可靠灭弧的最大电流。一般通断能力是额定电流的5~10倍。当然,这一数值与开断电路的电压等级有关,电压越高,通断能力越小。
(4)动作值:可分为吸合电压和释放电压。吸合电压是指接触器吸合前,缓慢增加吸合线圈两端的电压,接触器可以吸合时的最小电压。释放电压是指接触器吸合后,缓慢降低吸合线圈的电压,接触器释放时的最大电压。一般规定,吸合电压不低于线圈额定电压的85%,释放电压不高于线圈额定电压的70%
(5)吸引线圈额定电压:接触器正常工作时,吸引线圈上所加的电压值。一般该电压数值以及线圈的匝数、线径等数据均标于线包上,而不是标于接触器外壳铭牌上,使用时应加以注意。
(6)操作频率:接触器在吸合瞬间,吸引线圈需消耗比额定电流大5~7倍的电流,如果操作频率过高,则会使线圈严重发热,直接影响接触器的正常使用。为此,规定了接触器的允许操作频率,一般为每小时允许操作次数的最大值。
(7)寿命:包括电寿命和机械寿命。目前接触器的机械寿命已达一千万次以上,电气寿命约是机械寿命的5%~20%。
交流接触器的选择参数内容包括:额定电压;额定电流;线圈的额定电压;操作频率;辅助触头的工作电流。
1、额定电压:铭牌额定电压是指主触点上的额定电压,通常用的电压等级为
直流接触器:220V,440V,660V
交流接触器:220V,380V,500V
如某负载是380V的三相感应电动机,则应选用380V的交流接触器
2、额定电流:铭牌额定电流是指主触点的额定电流.通常用的电流等级为
直流接触器:25,40,60,100,150,250,400,600A
交流接触器:5,10,20,40,60,100,150,250,400,600
上述电流是指接触器安装在敞开式控制屏上,触点工作不超过额定温升,负载为间断—长期工作制时的电流值。若超过8小时,必须空载开闭三次以上,以消除表面氧化膜。如果上述条件改变,就要做相应修正起电流值,具体如下: 当接触器安装在箱柜内,由于冷却条件差,电流要降低10~20%使用,当接触器工作于长期工作制,而且通电持续率不超过40%;敞开安装,电流允许提高10~25%;箱柜安装,允许提高5~10%。
3、线圈的额定电压:通常的电压等级为
直流线圈:24,48,220,440V
交流线圈:36,127,220,380V
(选择时一般交流对交流,直流对直流,但交流负载频繁动作时可采用直流吸引线圈的接触器;直流接触器断开时产生的过电压高达10~20倍,故不宜采用高电压等级,电压太低,接通线圈用的继电器或接触器的联锁触点不可靠)
4、操作频率:指每小时接通的次数,交流接触器最高为600次/h,直流接触器可达1200次/h。
5、辅助触头的工作电流:辅助触头(或称辅助开关)的微动开关,它有两个电流参数,一是约定发热电流,一是工作电流.工作电流有多种,而约定发热电源只有一个。
补充参考内容:
(1)持续运行的设备。接触器按67-75%算。即100A的交流接触器,只能控制最大额定电流是67-75A以下的设备。
(2)间断运行的设备。接触器按80%算。即100A的交流接触器,只能控制最大额定电流是80A以下的设备。
(3)反复短时工作的设备。接触器按116-120%算。即100A的交流接触器,只能控制最大额定电流是116-120A以下的设备。
接触器(contanctor),可作为主回路电气元件,在一次系统中执行主回路的频繁开断与关合,并带有可用于二次回路的辅助触点。也可作为二次回路中的控制元件,实现较大容量、频繁操作的控制功能需要。
继电器(relay),仅作为二次回路电气元件,作为控制、保护、信号等功能使用,根据具体功能可分为:电压继电器、电流继电器、时间继电器、中间继电器、信号继电器等等,作为功能扩展需要。