邻近效应原理及对电缆载流量的影响
- 浏览次数:33077次
- 发布时间:2015/5/26 8:56:44
- 作者:cls_yinhe
邻近效应是指互相接近的传输导线中,交流电流相互向相邻导体接近而非均匀于导体中传输。频率和磁导率愈高,电阻系数愈小,这种现象愈显著。
一邻近效应简介
双线传输线的两根导线分别通过方向相反的交流电流时,各自产生的交变磁场相互在相邻的另一根导线上产生涡流。这种由相邻导线上的电流在本导线激发的涡流与本导线原有的工作电流叠加,使导体中的实际电流分布向截面中接近相邻导线的一侧(内侧)集中。邻近效应与趋肤效应在传输线中往往是孪生现象,其结果是使导体的有效电阻增加,工作衰减增大。
图2-1 二线传输线的电流分布
在变压器和电感器中,邻近效应对载流量造成的影响通常比集肤效应要大得多。
二临近效应定量分析
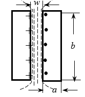
两根流过相反电流导线,在两导体相对之间,磁场方向相同而加强;两导线之外侧,磁场相反而抵销,磁场很弱,或为零。在导体内部,由两导体外侧向内逐渐加强,到达导体的内表面时磁场最强。现在来考察两根相邻的相同矩形截面(a×b)导体,两根导线流过相反的电流iA和iB。导线的截面 如图2-2所示,“·”表示流出纸面,“+”表示流入纸面。
图2-2所示两根导线厚度a大于穿透深度Δ,流过相反的且相等的高频电流iA和iB时,导体A流过的电流iA产生的磁场фA穿过导体B,与集肤效应相似,在导体B中产生涡流iAB。
图2-2 两反向电流导线之间磁场分布
图2-3两反向电流导体电流分布
在靠近A的一边涡流与iB的方向一致,相互叠加;而在远离A的一边,涡流与iB方向相而抵销。同理导线A中的电流受到导线B中电流iB产生的磁场作用,在靠近导线B的一边流通。使得导体中电流挤在两导体接近的一边。这就是邻近效应。
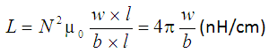
如果两导体相距w很近(图2-3,邻近效应使得电流在相邻内侧表面流通,磁场集中在两导线间,导线的外侧,既没有电流,也没有磁场-合成磁场为零,磁场中不存储能量,能量主要存储在导线之间。如果宽度b>>w,单位长度上的电感为
式中N=1-匝数;l-导电带料的长度(cm);b-带料的宽度(cm);w-导线间距离(cm)。若忽略外磁场的能量,单位长度两导线间存储的能量为
式中I-为导电带料流过的电流;H-导线之间的磁场强度。可见,如果导线宽度越窄(b变小),存储能量越大。根据上式比较图2-4几种导线的排列可以看到,由于邻近效应,电流集中在导线之间穿透深度的边缘上,b越小,表面间的磁场强度越强。如两导线距离w相同、两导线电流数值相等,图(a)导线宽度比图(c)宽,根据式(6.5)可见,导线间存储的能量与导线的宽度成反比。所以图(c)比图(a)存储更多的能量,导线电感也更大。邻近效应使图(c)导线有效截面积减少最为严重,损耗最大。为减少分布电感,图(a)最好,图(b)次之,图(c)最差。因此,在布置印刷电路板导线时,输出导线与回流导线上下层最好。平行靠近放置在同一层最差,即使导线很宽,实际上仅在导线靠近的边缘有高频电流流通,损耗很大,而且层的厚度不应当超过穿透深度。
图2-4 矩形导线不同放置时的邻近效应
三邻近效应案例
01邻近效应对多层线圈影响
图2-5是一个初级(p)和次级(s)线圈都是双层的变压器。导线的厚度大于穿透深度Δ。由于邻近效应,电流仅集中在初级与次级靠近的一边导线中Δ宽度流通。在远离的一边导体中没有磁场,也应当没有电流。事实是怎样呢?
首先作窗口空间磁场分布图,从最外边作为x=0做起。因邻近效应,电流集中在外层导线的最右边--里边,到达x=b-Δ时,磁场在Δ范围内由0上升到H1=N1I1/2l,然后在层间隙δ中保持这个数值。但x>b+δ即到达第二层时,第二层的外边,如果导体中没有电流,第二层中和δ中一样将有交变磁场H1,此交变磁场在第二层中产生涡流,使第二层外边边缘Δ深度产生与第一层里边大小相等方向相反的电流,才能保证第二层中心磁场为零,电流也为零。即第二层的外边流过与第一层的里边大小相同,方向相反的电流。
在第二层里边x=2b+δ-Δ至2b+δ,初级安匝应全部加在窗口高度上。在Δ深度内除了和第一层相同的电流外,还要流过第二层外边相等而相反的电流,即两倍第一层电流。这样在第二层中流过两倍第一层同向的电流,还流过与第一层相等且反向的电流,净电流仍然与第一层相同。如Δ深度电阻相同,该层交流损耗为(1+22)倍单层损耗(I2r),比外层大5倍。次级情况相仿。磁场分布图如图2-5(b)所示,图中虚线是低频磁场分布图。从图中可以看到,导线内部不存储能量,高频时漏感减少了,但损耗增加太多,用增加导线厚度减少高频时漏感是不值得的。
图2-5 高频多层线圈磁场图
如果每段线圈是n层,初级第n层内表面最大电流是低频电流的n倍,其外表面反向电流是低频电流的n-1倍。如果电阻相同,n层的损耗是它的第一层损耗((n-1)2+n2)倍。所示邻近效应比集肤效应引起更严重的交流损耗。
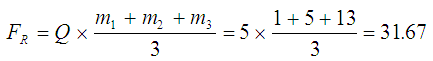
例:一变压器结构如图2-5所示。初级3层,变压器工作频率为200kHz,导线直径为0.84mm。线圈工作温度为100℃。求线圈电阻增加多少倍?
解:
1.线圈工作温度为100℃,导线的穿透深度为
2.因邻近效应电流集中导线的一边,有效面积减少倍数为
3.由于邻近效应,边缘电流增加,各层电阻增加的倍数为((n-1)2+n2)
第一层是m1=1倍, 第二层是m2=1+22=5倍,第三层是m3=22+32=13倍。整个线圈增加的电阻是直流电阻的倍数FR=Rac/Rdc为

倍
可见,在多层线圈中,邻近效应比集肤效应更严重。
如果将导线直径减少到接近穿透深度Δ,在每根导线的内外表面的+和·开始合并,部分抵销了,场部分穿透到导体内部。当导线直径远远小于穿透深度Δ,磁场完全渗透到导体内,导体内的相反电流完全合并而抵销了,电流分布于每根导线整个截面。
02Dowell法计算正弦波交流电阻
当导线尺寸(层的厚度)小于穿透深度时,I2R的计算是很复杂的。道威尔(Dowell)给出了正弦波交流电阻的计算方法,如图2-6所示。图中纵坐标FR=Rac/Rdc,横坐标Q为层厚度或导线厚度与穿透深度Δ的比值。对于铜带和铜箔线圈,层的厚度就是铜带的厚度。当线圈交错分段时,参变量为每段线圈层数。
对于每层相互叠绕直径为d的园导线,有效层厚度为导线直径的0.83倍。如果园导线层间有间隙,有效层厚度为0.83d,d为导线直径,s为导线中心距。圆导线Q也可以用以下公式计算:
式中h=0.83d,d-导线直径;Δ-穿透深度;Fl=Nld/w-铜层系数;Nl-每层匝数;w-层的厚度。对于铜箔,Fl=1。
图2-6 交流与直流电阻比和等效铜厚度、层数关系
在图2-6的最右边,是导体的厚度远大于穿透深度Δ,FR很大。曲线是平行的。在最左边,导体厚度远小于Δ,FR接近1。在图的中心,曲线随着Q的减少向下弯曲。对于变压器交流电流分量大,通常选择FR=1.5最佳。FR加大,损耗变得很大。要是低于1.5,超过最小折返点,需要用更细的导线,充填系数减少。FR=1.5时, 1 层Q大约1.6,10层大约为0.4。图2-6在选择导线直径时是非常有用的。如果导线要求截面积较大,应当采用多股线或铜箔。即使用较薄铜带导致高的直流电阻,但交流电阻可大大减少还是有利的。在直流电感中,交流纹波相对直流分量很小(电感电流连续)时,可选取较大FR。
如果将初级和次级绕组分段交错绕制,图2-7画出几种安排的低频磁场分布图。图(a)在初级次级结合处磁场强度最高。线圈是两层初级和两层次级,如果Q=4,由图2-6查得FR=13。
图(b)交错排列,最大磁场强度只有图(a)的一半。每段1层,仍然Q=4,再由图2-6查得FR=4。交流损耗电阻大大下降。图(c)采用初级1/3-次级2/3-初级2/3-次级1/3的安排,从磁场分布图可以看到最大磁场强度比图(b)更低。因此,存储能量更少。更多的分段减少磁场能量,但会带来其它问题。
虽然图2-6曲线非常有用,但应记住,图2-6是正弦波电流下得到的。对于包含丰富谐波的开关电源应用,实际损耗大于计算值。如果精确计算,必须将电流波形分解成富里叶级数,然后计算电流每次谐波损耗,因为谐波频率不同,穿透深度不同,损耗也不同。再将各次谐波损耗相加获得总损耗。工程上估算时将基波频率按图2-6的结果再加50%。
图2-7 变压器线圈安排