当前位置:首页银河百科 │ 双速电机

双速电机

  • 浏览次数:21004次
  • 发布时间:2014/8/5 9:03:41
  • 作者:AnyWay中国

一、双速电机概述

  双速电机变极调速电机的一种。双速电机通过改变定子绕组的连接方法达到改变定子旋转磁场磁极对数,进而成倍数的改变旋转磁场的旋转速度,实现调速目的。
  异步电机的同步转速n=60f/p。
  从公式看出,改变异步电机的转速,有两种基本方式:
  1、改变供电电源的频率f,变频调速就是利用这个原理。
  2、改变电机的极对数p,这种调速方式称为变极调速。
  电机极对数越多,同步转速越低。当供电频率固定时,其同步转速也是固定的,如:50Hz供电时,2极电机同步转速是3000r/min,4极电机同步转速是1500r/min,6极电机同步转速是1000r/min,8极电机同步转速是750r/min。
  改变定子绕组的连接方式,可以改变电机极对数,然而,根据电机学原理,只有当定、转子的极对数相同时两者磁势才能相互作用产生恒定电磁转矩。因此,要求变极时定、转子的极对数必须同时改变。
  绕线式转子实现变极难度大,而鼠笼式异步电机的转子为对称分布的闭合回路,没有固定的极对数,所以,通常只有鼠笼式异步电机才能采用变极调速方式。
  因此,双速电机大多为鼠笼式异步电机。

二、双速电机原理

1、双速电机变极调速原理

  如下图1所示,双速电机的A、B、C每相有两个定子绕组,改变定子绕组的连接方式实现即可实现极对数的改变。
双速电机变极调速原理 
图1. 双速电机变极调速原理

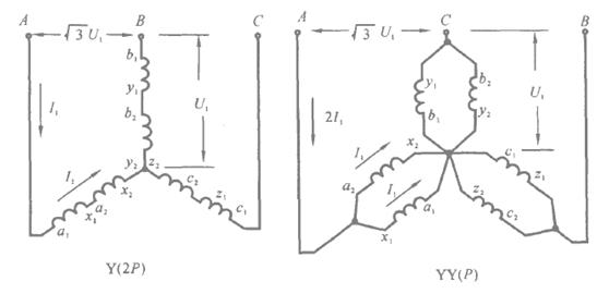
2、双速电机Y-YY接变极调速方式

双速电机Y-YY接变极调速方式
图2. 双速电机Y-YY接变极调速方式
  Y接时的极对数为1P,YY接时的极对数为2P。YY接的同步转速是Y接的两倍。
  假设供电电压不变,为了充分利用绕组电缆的载流量,YY接后单个绕组的电流保持不变,则:YY接后电机的功率是Y接时的两倍,也就是说,Y-YY接变极调速属于恒转矩调速方式。

3、双速电机的△-YY接变极调速方式

双速电机的△-YY接变极调速方式
图3. 双速电机的△-YY接变极调速方式
  △接时的极对数为1P,YY接时的极对数为2P。YY接的同步转速是△接的两倍。
  假设供电电压不变,为了充分利用绕组电缆的载流量,YY接后单个绕组的电流保持不变,则:YY接后电机的功率是△接时的2/√3(约1.155)倍,也就是说,△-YY接变极调速近似为恒功率调速方式。

三、双速电机特点

  1、双速电机在两种速度下都可输出额定转矩或额定功率,都可获得较高的效率。
  2、双速电机的调速为整倍数调节,只能应用在不要求平滑调节转速的场合。
  3、双速电机在变极调速的情况下仍可采用变频调速,大幅度提高了宽速度范围内的电机运行效率。

四、双速电机应用

  双速电机作为主要的动力设备,通常用于驱动泵、风机、压缩机和其他传动机械。双速电机广泛应用于煤矿、石油天然气、石油化工和化学工业、纺织、冶金、城市煤气、交通、粮油加工、造纸、医药等行业。

上一篇:VFE

下一篇:电力牵引

Copyright 2010-2017 , All Rights Reserved 子夜无人免费观看 版权所有 湘ICP备09002592号-5